Original Version
Rule 54.7-B
54.7-B. Working Space
Working Spaces, unobstructed by conductors or other equipment except as provided in Rule 54.7-B2, of the dimensions as specified in Rule 54.7-B1, shall be provided dimensions as specified in Rule 54.7-B1, Shall be provided between conductor levels on all poles in such positions that the working levels on all poles and in such positions that the working space include the climbing space.
(1)
Dimensions of Working
Space: The vertical dimensions of the
working space above and below any conductor level shall be equal to the
vertical clearances between conductors specified in Table 2, Cases 8 to 14
inclusive, for the voltages involved.
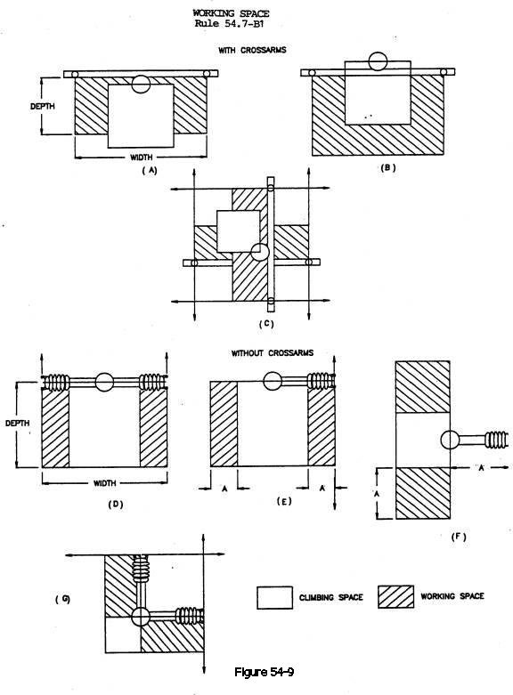
The width of
the working space where crossarms are involved shall be the distance between
outside pin positions of the crossarms involved. The depth of the working space where crossarms are involved shall
be equal to the width of the climbing space and shall be measured
perpendicularly from the face of crossarm. (See Figures 54-9 A, B and C.)
The width of
the working space where crossarms are not involved (e.g., vertical and
triangular construction without crossarms) shall extend from the climbing space
to the outmost conductor position on the conductor support involved. The depth
of the working space shall have the same dimension as the climbing space and
shall be measured from the centerline of pole (See Figure 54-9D). When conductors are located on one side of
the pole only (e.g., vertical construction) the dimensions of working space
shall be applied as illustrated in Figures 54-9 E and F. When climbing space is
located in a quadrant, working space shall be applied as illustrated in Figure
54-9G.
(2)
Allowable Working Space
Obstructions: Taps from conductors on line arms, or other supports, extending
to conductors on related buck arms may pass through the working space between
the levels of conductors.
Service drops
of 0-750 volts may pass through the working space of conductors and may pass
through working space of 750-7500 volt conductors provided not less than the
clearance between service drop and line conductors specified in Rule 54.8-C6
are maintained.
Cutouts and
their leads may be installed in the working space (but not the climbing space).
Switches and
their leads may extend into the working space (but not the working space).
Lead wires to
transformers or capacitors may pass through the working space adjacent to the
line conductors to which such leads are attached.
Terminal
fittings of risers and runs, and their taps, may extend into the working space
provided these fittings are the only obstruction of the working space at their
level on the same side of the climbing space.

Strikeout and Underline Version
Rule 54.7-B
54.7-B Working Space
Working Spaces, unobstructed by conductors or other equipment except as provided in Rule 54.7-B2, of the dimensions as specified in Rule 54.7-B1, shall be provided dimensions as specified in Rule 54.7-B1, Shall be provided between supply conductor levels on all poles in such positions that the working levels on all poles and in such positions that the working space include the climbing space.
(1) Dimensions of Working Space:
a)
The vertical dimensions of the
working space above and below any supply conductor levels energized
above 750 volts shall be equal to the entire vertical clearances
distance between the supply conductors specified in Table 2,
Cases 8 to 14 inclusive, for the voltages involved (e.g. the entire
vertical distance between a 7500-20,000 volt level and a 0-750 volt level).
b) When there is no supply conductor level below a conductor level that is energized above 750 volt, the vertical dimension of working space shall be 6 feet.
c) The vertical dimension of working space between supply conductor levels of 0-750 volts shall be equal tot eh vertical distance between such levels.
d)
The width of the working space
where wood crossarms are involved shall be the distance between outside
pin positions of the crossarms involved.
The depth of the working space where crossarms are involved shall be
equal to the width of the climbing space and shall be measured perpendicularly
from the face centerline of crossarm pole on the climbing side
of pole. (See Figures 54-9 A, B and C.)
e) The width of the working space of supply circuits above 750 volts where wood crossarms are not involved (e.g., vertical and triangular construction without wood crossarms) shall extend from the climbing space to the outmost conductor position on the conductor support involved. The depth of the working space shall have the same dimension as the climbing space and shall be measured from the centerline of pole (See Figure 54-9D and 54-9H). When conductors above 750 volts are located on one side of the pole only (e.g., vertical construction) the dimensions of working space shall be applied as illustrated in Figures 54-9 E and 54-9F (dimension “A” is equal to the distance from the climbing space to the outmost conductor position). When climbing space is located in a quadrant, working space shall be applied as illustrated in Figure 54-9G.
f) The width and depth of the working space supply circuits of 0-750 volts where wood crossarms are not involved shall be the same width and depth as the climbing space.
(2) Allowable Working Space Obstructions:
a) Taps from conductors on line arms, or other supports, extending to conductors on related buck arms may pass through the working space between the levels of conductors.
b) Service drops of 0-750 volts may pass through the working space of conductors and may pass through working space of 750-7500 volt conductors provided not less than the clearance between service drop and line conductors specified in Rule 54.8-C6 are maintained.
c) Cutouts, disconnects, switches and their leads may be installed in the working space (but not the climbing space).
Switches and their leads may extend into the
working space (but not the working space).
d) Lead wires to transformers, or capacitors, oil switches, vacuum switches, and other similar apparatus may pass through the working space adjacent to the line conductors to which such leads are attached.
e) Terminal fittings of risers and runs, and their taps, may extend into the working space provided these fittings are the only obstruction of the working space at their level on the same side of the climbing space.
f) Street lights and their associated hardware may extend into the working space.
.jpg)
Final Version
Rule 54.7-B
54.7-B Working Space
Working Spaces, unobstructed by conductors or other equipment except as provided in Rule 54.7-B2, of the dimensions as specified in Rule 54.7-B1, shall be provided dimensions as specified in Rule 54.7-B1, Shall be provided between conductor levels on all poles in such positions that the working levels on all poles and in such positions that the working space include the climbing space.
(1) Dimensions of Working Space:
a) The vertical dimensions of the working space above and below supply conductor levels energized above 750 volts shall be equal to the entire vertical distance between the supply conductors involved (e.g. the entire vertical distance between a 7500-20,000 volt level and a 0-750 volt level).
b) When there is no supply conductor level below a conductor level that is energized above 750 volt, the vertical dimension of working space shall be 6 feet.
c) The vertical dimension of working space between supply conductor levels of 0-750 volts shall be equal tot eh vertical distance between such levels.
d) The width of the working space where wood crossarms are involved shall be the distance between outside pin positions of the crossarms involved. The depth of the working space where crossarms are involved shall be equal to the width of the climbing space and shall be measured perpendicularly from the face centerline of pole on the climbing side of pole. (See Figures 54-9 A, B and C.)
e) The width of the working space of supply circuits above 750 volts where wood crossarms are not involved (e.g., vertical and triangular construction without wood crossarms) shall extend from the climbing space to the outmost conductor position on the conductor support involved. The depth of the working space shall have the same dimension as the climbing space and shall be measured from the centerline of pole (See Figure 54-9D and 54-9H). When conductors above 750 volts are located on one side of the pole only (e.g., vertical construction) the dimensions of working space shall be applied as illustrated in Figures 54-9 E and 54-9F (dimension “A” is equal to the distance from the climbing space to the outmost conductor position). When climbing space is located in a quadrant, working space shall be applied as illustrated in Figure 54-9G.
f) The width and depth of the working space supply circuits of 0-750 volts where wood crossarms are not involved shall be the same width and depth as the climbing space.
(2) Allowable Working Space Obstructions:
a) Taps from conductors on line arms, or other supports, extending to conductors on related buck arms may pass through the working space between the levels of conductors.
b) Service drops of 0-750 volts may pass through the working space of conductors and may pass through working space of 750-7500 volt conductors provided not less than the clearance between service drop and line conductors specified in Rule 54.8-C6 are maintained.
c) Cutouts, disconnects, switches and their leads may be installed in the working space (but not the climbing space).
d) Lead wires to transformers, or capacitors, oil switches, vacuum switches, and other similar apparatus may pass through the working space adjacent to the line conductors to which such leads are attached.
e) Terminal fittings of risers and runs, and their taps, may extend into the working space provided these fittings are the only obstruction of the working space at their level on the same side of the climbing space.
f) Street lights and their associated hardware may extend into the working space.
.jpg)