Change List for this Rule

 

Original Version

Rule 54.7-B

 

54.7-B.    Working Spaces, unobstructed by conductors or other equipment except as provided in Rule 54.7-B2, of the dimensions as specified in Rule 54.7-B1, shall be provided dimensions as specified in Rule 54.7-B1, Shall be provided between conductor levels on all poles in such positions that the working levels on all poles and in such positions that the working space include the climbing space.

 

(1)    Dimensions of Working Space:  The vertical dimensions of the working space above and below any conductor level shall be equal to the vertical clearances between conductors specified in Table 2, Cases 8 to 14 inclusive, for the voltages involved.

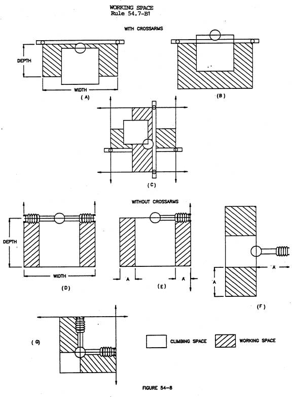
The width of the working space where crossarms are involved shall be the distance between outside pin positions of the crossarms involved.
  The depth of the working space where crossarms are involved shall be equal to the width of the climbing space and shall be measured perpendicularly from the face of crossarm. (See Figures 54-8 A,B and C.)

The width of the working space where crossarms are not involved (e.g., vertical and triangular construction without crossarms) shall extend from the climbing space to the outmost conductor position on the conductor support involved. The depth of the working space shall have the same dimension as the climbing space and shall be measured from the centerline of pole (See Figure 54-8D).  When conductors are located on one side of the pole only (e.g., vertical construction) the dimensions of working space shall be applied as illustrated in Figures 54-8 E and F. When climbing space is located in a quadrant, working space shall be applied as illustrated in Figure 54-8G.

 

 

 

(2)    Allowable Working Space Obstructions: Taps from conductors on line arms, or other supports, extending to conductors on related buck arms may pass through the working space between the levels of conductors.

Service drops of 0-750 volts may pass through the working space of conductors and may pass through working space of 750-7500 volt conductors provided not less than the clearance between service drop and line conductors specified in Rule 54.8-C6 are maintained.

Cutouts and their leads may be installed in the working space (but not the climbing space).

Switches and their leads may extend into the working space (but not the working space).

Lead wires to transformers or capacitors may pass through the working space adjacent to the line conductors to which such leads are attached.

Terminal fittings of risers and runs, and their taps, may extend into the working space provided these fittings are the only obstruction of the working space at their level on the same side of the climbing space.

 

Strikeout and Underline Version

Rule 54.7-B

 

54.7-B.    Working Spaces, unobstructed by conductors or other equipment except as provided in Rule 54.7-B2, of the dimensions as specified in Rule 54.7-B1, shall be provided dimensions as specified in Rule 54.7-B1, Shall be provided between conductor levels on all poles in such positions that the working levels on all poles and in such positions that the working space include the climbing space.

 

(1)    Dimensions of Working Space:  The vertical dimensions of the working space above and below any conductor level shall be equal to the vertical clearances between conductors specified in Table 2, Cases 8 to 14 inclusive, for the voltages involved.

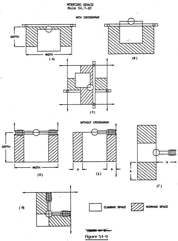
The width of the working space where crossarms are involved shall be the distance between outside pin positions of the crossarms involved.
  The depth of the working space where crossarms are involved shall be equal to the width of the climbing space and shall be measured perpendicularly from the face of crossarm. (See Figures 54-8 54-9 A,B and C.)

The width of the working space where crossarms are not involved (e.g., vertical and triangular construction without crossarms) shall extend from the climbing space to the outmost conductor position on the conductor support involved. The depth of the working space shall have the same dimension as the climbing space and shall be measured from the centerline of pole (See Figure 54-8 54-9 D).  When conductors are located on one side of the pole only (e.g., vertical construction) the dimensions of working space shall be applied as illustrated in Figures 54-8 54-9 E and F. When climbing space is located in a quadrant, working space shall be applied as illustrated in Figure 54-8 54-9 G.

 

 

 

(2)    Allowable Working Space Obstructions: Taps from conductors on line arms, or other supports, extending to conductors on related buck arms may pass through the working space between the levels of conductors.

Service drops of 0-750 volts may pass through the working space of conductors and may pass through working space of 750-7500 volt conductors provided not less than the clearance between service drop and line conductors specified in Rule 54.8-C6 are maintained.

Cutouts and their leads may be installed in the working space (but not the climbing space).

Switches and their leads may extend into the working space (but not the working space).

Lead wires to transformers or capacitors may pass through the working space adjacent to the line conductors to which such leads are attached.

Terminal fittings of risers and runs, and their taps, may extend into the working space provided these fittings are the only obstruction of the working space at their level on the same side of the climbing space.

 

Final Version

Rule 54.7-B

 

54.7-B.    Working Spaces, unobstructed by conductors or other equipment except as provided in Rule 54.7-B2, of the dimensions as specified in Rule 54.7-B1, shall be provided dimensions as specified in Rule 54.7-B1, Shall be provided between conductor levels on all poles in such positions that the working levels on all poles and in such positions that the working space include the climbing space.

 

(1)    Dimensions of Working Space:  The vertical dimensions of the working space above and below any conductor level shall be equal to the vertical clearances between conductors specified in Table 2, Cases 8 to 14 inclusive, for the voltages involved.

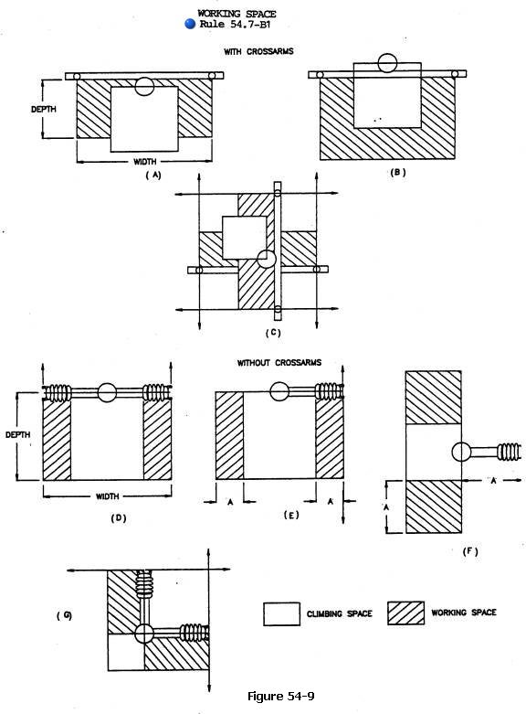
The width of the working space where crossarms are involved shall be the distance between outside pin positions of the crossarms involved.
  The depth of the working space where crossarms are involved shall be equal to the width of the climbing space and shall be measured perpendicularly from the face of crossarm. (See Figures 54-9 A,B and C.)

The width of the working space where crossarms are not involved (e.g., vertical and triangular construction without crossarms) shall extend from the climbing space to the outmost conductor position on the conductor support involved. The depth of the working space shall have the same dimension as the climbing space and shall be measured from the centerline of pole (See Figure 54-9 D).  When conductors are located on one side of the pole only (e.g., vertical construction) the dimensions of working space shall be applied as illustrated in Figures 54-9 E and F. When climbing space is located in a quadrant, working space shall be applied as illustrated in Figure 54-9 G.

 

 

 

(2)    Allowable Working Space Obstructions: Taps from conductors on line arms, or other supports, extending to conductors on related buck arms may pass through the working space between the levels of conductors.

Service drops of 0-750 volts may pass through the working space of conductors and may pass through working space of 750-7500 volt conductors provided not less than the clearance between service drop and line conductors specified in Rule 54.8-C6 are maintained.

Cutouts and their leads may be installed in the working space (but not the climbing space).

Switches and their leads may extend into the working space (but not the working space).

Lead wires to transformers or capacitors may pass through the working space adjacent to the line conductors to which such leads are attached.

Terminal fittings of risers and runs, and their taps, may extend into the working space provided these fittings are the only obstruction of the working space at their level on the same side of the climbing space.